Numer artykułu 801.50.127 99
HEWI Mobile hinged support rail, rotatable
polyamide, high gloss, Projection 850 mm, tested up to 150 kg when used with HEWI fixing material, Recommended maximum weight of the user: 150 kg, is produced in accordance with CE and UKCA Regulation (EU) 2017/745 on medical devices, fulfils the DIN 18040 requirements, ÖNORM B1600/1601 and SIA 500.
Pokaż więcej polyamide, high gloss, Projection 850 mm, tested up to 150 kg when used with HEWI fixing material, Recommended maximum weight of the user: 150 kg, is produced in accordance with CE and UKCA Regulation (EU) 2017/745 on medical devices, fulfils the DIN 18040 requirements, ÖNORM B1600/1601 and SIA 500.
Aktualny kolor: 99 (czysta biel)
EAN
4014885614784
grupa artykułów
Uchwyt ścienny, składany
Hilfsmittelnummer
04.40.05.1253
Funkcja
uchylno - obrotowa
Wersja
suitable for both sides
Wymiar
850 mm
Kolor
Wariant
bez funkcji różnej
Montaż
mobilny
Materiał
Poliamid
Rdzeń
Rdzeń stalowy
Supplied only with wall-specific HEWI fixing material (Stainless steel).
Series 801 mobile folding support handle (rotatable)
- Two parallel rails, arranged on top of each other, bars joined together by a connecting arch
- Used for holding and supporting
- Can be folded upwards and, folded downwards with braking mechanism, in raised position can be turned to left or right towards the wall
- for mobile use
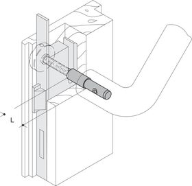
- for easy and flexible retrofitting on existing, preassembled mounting plate: 950.50.016, must be ordered separately
- toolless and quick installation by simple attachment of the hinged support rail
- secured by fixing screw to prevent unintentional removal
- tested up to 150 kg when used with HEWI fixing material
- Recommended maximum weight of the user: 150 kg
- Projection 850 mm , Height 252 mm and width 78 mm , Rail 33 mm in diameter
- With continuous, corrosion-protected steel core - made of high-quality polyamide according to HEWI colour chart
- Toilet roll holder 801.50.011, - Toilet flushing mechanism (radio) 801.50.060 and floor supports 950.50.021XA and 950.50.023XA retrofittable
- is produced in accordance with CE and UKCA Regulation (EU) 2017/745 on medical devices
- Fulfils the DIN 18040 requirements, ÖNORM B1600/1601 and SIA 500
- Two parallel rails, arranged on top of each other, bars joined together by a connecting arch
- Used for holding and supporting
- Can be folded upwards and, folded downwards with braking mechanism, in raised position can be turned to left or right towards the wall
- for mobile use
- for easy and flexible retrofitting on existing, preassembled mounting plate: 950.50.016, must be ordered separately
- toolless and quick installation by simple attachment of the hinged support rail
- secured by fixing screw to prevent unintentional removal
- tested up to 150 kg when used with HEWI fixing material
- Recommended maximum weight of the user: 150 kg
- Projection 850 mm , Height 252 mm and width 78 mm , Rail 33 mm in diameter
- With continuous, corrosion-protected steel core - made of high-quality polyamide according to HEWI colour chart
- Toilet roll holder 801.50.011, - Toilet flushing mechanism (radio) 801.50.060 and floor supports 950.50.021XA and 950.50.023XA retrofittable
- is produced in accordance with CE and UKCA Regulation (EU) 2017/745 on medical devices
- Fulfils the DIN 18040 requirements, ÖNORM B1600/1601 and SIA 500
Nagrody za wzornictwo
Przyznane przezPliki do pobrania
Dokumenty
| Ausschreiben.de | Link | |
| Tabelą kolorów | Link | |
| Wideo produktu 1 | Link |
Ostatnio oglądane
Mobilny uchwyt ścienny, składany
Numer artykułu 801.50.127 99



