Koszyk na zakupy

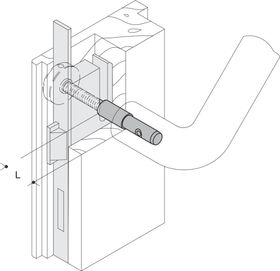
Tulejka prowadząca

Numer artykułu 53712

HEWI Guiding sleeve
made of high-quality polyamide, for glass door lever handles without roses.
Pokaż więcej
EAN
4014884972335
grupa artykułów
Komponenty | Części zamienne
Materiał
Poliamid
Guiding sleeve
made of high-quality polyamide, for glass door lever handles without roses.

Ostatnio oglądane

Rodzaj mocowania 4...X...

Rodzaj mocowania 4...X...

Numer artykułu BA4.60.70XA2

F17782_okat.jpg

Uchwyt ścienny Mono


Numer artykułu 900.50.21540

S04350_okat.jpg

Outlet valve for cistern

Numer artykułu 65053

F23329_okat.jpg

Shelf with hooks

Numer artykułu 800.03.403 99

F10091_okat.jpg

Pierścień do zasłony prysznicowej

do drążka zasłony prysznicowej 800.34...., 801.34.1...., 805.34....
Numer artykułu 801.34.E01 99

F22951_okat.jpg

Oparcie

Model righthand,
support right, rose left,
backrest jet black

Numer artykułu 801.51.9273R 99

F09441_okat.jpg

Półka


Numer artykułu 802.03.200 74

F23142_okat.jpg

Haczyk

ø 50 mm
Numer artykułu 477.90.015 99

F24752_okat.jpg

Uchwyt na ręcznik kąpielowy


Numer artykułu 162.30.20160 DC

Tulejka prowadząca

Numer artykułu 53712