Article number 900Q21.00340
HEWI Spare roll holder
stainless steel, high-quality chrome-plated, width 15 mm, height 20 mm, depth 122 mm.
Show more stainless steel, high-quality chrome-plated, width 15 mm, height 20 mm, depth 122 mm.
EAN
4014885673491
article group
Spare roll holder
Material
Chrome
System 900 Q spare roll holder
- spare roll holder in a geometric square design for holding one toilet roll
- made of high-quality stainless steel, chrome-plated
- width 15 mm, height 20 mm, depth 122 mm
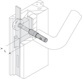
- for wall mounting, Concealed fixing
- includes corrosion-free HEWI mounting materials
- spare roll holder in a geometric square design for holding one toilet roll
- made of high-quality stainless steel, chrome-plated
- width 15 mm, height 20 mm, depth 122 mm
- for wall mounting, Concealed fixing
- includes corrosion-free HEWI mounting materials
Design awards
Awarded byDocuments
| Ausschreiben.de | Link | |
| Colour Chart | Link |
Products last viewed
Spare roll holder
Article number 900Q21.00340


